空间弯
查看更多
空间弯中到中下后上前计算器
空间弯中到中下后上前计算器,输入管道外径、弯曲半径、偏心距、水平长度和
空间弯中到中下后上右计算器
空间弯中到中下后上右计算器,输入管道外径、弯曲半径、偏心距、水平长度和
空间弯中到中下后上上计算器
空间弯中到中下后上上计算器,输入管道外径、弯曲半径、偏心距、水平长度和
空间弯中到中下左上右计算器
空间弯中到中下左上右计算器,输入管道外径、弯曲半径、偏心距、水平长度和
空间弯中到中下右上上计算器
空间弯中到中小左上前计算器,输入管道外径、弯曲半径、偏心距、水平长度和
空间弯中到中下右上上计算器
空间弯中到中下右上上计算器,输入管道外径、弯曲半径、偏心距、水平长度和
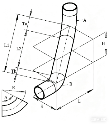
空间弯中到中下下上后计算器
空间弯中到中下下上后计算器(单弯头空间弯),输入管道外径、弯曲半径、偏
空间弯中到中下下上前计算器
空间弯中到中下下上前计算器(前偏心布置),输入管道外径、弯曲半径、偏心
空间弯中到中下下上后计算器
空间弯中到中下下上后计算器,输入管道外径、弯曲半径、偏心距、水平长度和
三通放样
查看更多
等径圆管直交三通展开计算器
等径圆管直交三通展开计算器,可快速计算支管展开图、主管开孔坐标与材料重
等径圆管斜交三通展开计算器
等径圆管斜交三通展开计算器,支持任意夹角计算,可按端口高或轴线长取值。
等径圆管斜交四通展开计算器
在线计算等径圆管斜交四通展开下料,输入外径、壁厚、夹角及端口高度,自动
异径圆管正心直交三通展开计算器
专为异径圆管正心直交三通设计,输入主管外径、支管外径、壁厚和端口高度,
异径圆管正心斜交三通展开计算器
异径圆管正心斜交三通展开计算器,专为管工和钣金师傅设计。输入主管与支管
异径圆管偏心直交三通展开计算器
异径圆管偏心直交三通展开工具,专为管工和钣金师傅打造。输入主管外径、支
异径圆管偏心斜交三通展开计算器
异径圆管偏心斜交三通展开计算器,支持主管与支管外径、壁厚、偏心距及夹角
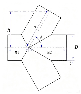
等径圆管裤形三通展开计算器
等径圆管裤形三通展开计算器,专为管工下料设计。输入管径、壁厚、上中下段
等径圆管人字形三通展开计算器
支持输入管径、壁厚、弯曲半径、角度及节数,自动计算主管与支管各节素线长
钣金展开
查看更多
S形偏心矩形管弯头展开计算器
专为矩形风管与非标钢结构设计的S形偏心弯头展开计算器,输入截面尺寸、壁
多节方管弯头展开计算器
多节方管弯头展开计算器,采用里皮展开法,输入外边长、弯曲半径、角度及节
蛇形方管弯头展开计算器
蛇形方管弯头展开计算器,输入外径、三节高度及偏心距,自动计算棱线长度与
曲面矩形管直角弯头展开计算器
曲面矩形管直角弯头展开计算器,支持外皮与中性层两种计算模式,输入截面边
两节直角方形45度扭脖弯头展开计算器
两节直角方形45度扭脖弯头展开计算器,专为方形风管与方管桁架设计,支持
两节直角矩形弯头展开计算器
两节直角矩形弯头展开计算器,输入管口外横边A、外纵边B、下节高度H及壁
几何计算
查看更多
锐角三角形,面积,周长,边长,高计算公式与在线计算器
锐角三角形在线计算器,支持三边(SSS)、两边夹角(SAS)、两角夹边
二分之一圆(半圆)面积,弧长,半径,周长计算公式与在线计算器
半圆面积弧长周长在线计算器,输入半径或直径,自动计算面积、弧长、周长、
椭圆面积、高精度周长计算公式与在线计算器
椭圆面积周长在线计算器,输入长半轴a和短半轴b,自动计算面积、三种周长
涡状线长、圈数、螺距、直径计算公式与在线计算器
涡状线在线计算器,基于阿基米德螺旋线公式,支持12种已知组合输入,自动
螺线线长、圈数、螺距、直径计算公式与在线计算器
圆柱螺旋线在线计算器,支持四种组合求解(线长+圈数+直径求螺距、线长+
抛物线面积、线长、周长在线计算器
抛物线面积曲线长周长在线计算器,支持五种已知组合(底边+高、高+曲线长
弓形,圆弧形的面积,弧长,弦长,弦高,半径,夹角在线计算器
弓形圆弧在线计算器,支持8种已知组合(半径+圆心角、半径+弧长、半径+
隅角面积,弧长,弦长,半径,周长计算公式与在线计算器
隅角面积弧长弦长在线计算器,输入半径或直径,自动计算弦长、弧长、隅角面
四分之一圆面积,弧长,弦长,周长,半径计算公式与在线计算器
四分之一圆面积弧长弦长在线计算器,输入半径或直径,自动计算弦长、弧长、